登录发现更多内容
首页
资源中心
技术中心
我的收藏
通知提醒
邀请好友
发帖
账号
自动登录
找回密码
密码
登录
注册
只需一步,快速开始
登录
立即登录
立即注册
其他登录
QQ
首页
Portal
求助问答
Xiuno资源
Xiuno教程
Xiuno插件
Xiuno主题
休闲茶馆
定制主题
资源中心
求助问答
Xiuno资源
Xiuno教程
Xiuno插件
Xiuno主题
休闲茶馆
定制主题
技术中心
求助问答
Xiuno资源
Xiuno教程
Xiuno插件
Xiuno主题
休闲茶馆
定制主题
搜索
搜索
本版
帖子
用户
好友
帖子
道具
收藏
勋章
任务
动态
门户
导读
排行榜
设置
我的收藏
退出
首页
技术中心
›
易游云服云机房管理禁用店面没有反应或报错 ...
返回列表
技术分享
易游云服云机房管理禁用店面没有反应或报错
[复制链接]
[ 复制链接 ]
发新帖
fate_knight
三国LV9
技术中心
305
0
2025-8-26 15:45:53
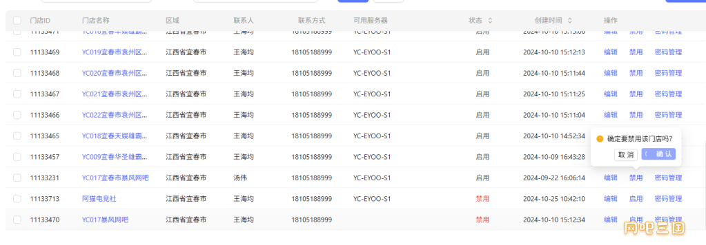
问题现象:易游云服云机房管理禁用店面没有反应或者提示获取远程服务数据
排查过程:
1.易游云服后台,检查该账号权限是否正常,该账号为团队创建人员,权限正常。
2.检查是否是云服后台出现故障,测试本地账号禁用云机房客户机或者店面,也是正常的。
3.云机房环境,尝试禁用其他的店面都是该提示,远程该云机房服务器,检查对应设置,服务器设置并未有异常或者报错信息。
解决方法:
远程云机房服务器重启易乐游云服务管理服务,退出易游云服后台账号重新登录,再次操作禁用门店或者机器恢复正常。、
PS:重启该服务不会影响正在上机游玩用户,可以再待机情况下直接重启。
回复
使用道具
举报
提升卡
置顶卡
沉默卡
喧嚣卡
变色卡
抢沙发
显身卡
B
Color
Image
Link
Quote
Code
Smilies
您需要登录后才可以回帖
立即登录
点评
高级模式
本版积分规则
回帖后跳转到最后一页
返回
版块
查看全部 >
技术中心
资源中心
推荐资源
易乐游无盘包
云更新无盘包
顺网无盘包
服务器系统
游戏下载软件
统计信息
会员数: 30796 个
话题数: 10863 篇
巅峰数: 6022 人
首页
资源中心
技术中心
通知提醒
我的